富 民 縣 污 水 處 理 廠
Fu Min xian Wu Shui Chu Li Chang
突發環境事件應急預案
(第二版)
備案編號: - - - 備案日期:
2019年 8月編制 2019年 月 日實施
富民縣污水處理廠


發 布 令
富民深隆污水處理有限公司《富民縣污水處理廠突發環境事件應急預案》[(2019)修訂版]已經編制完成,是根據富民縣污水處理廠實際環境風險源情況及可能發生的環境事件的嚴重性,采取不同級別的響應程序,是公司環境管理的重要文件,也是突發環境事件應急響應的指導性文件。
《富民縣污水處理廠突發環境事件應急預案》自公司董事長簽署之日起生效并發布實施。《富民縣污水處理廠突發環境事件應急預案》發布后,希望此預案成為公司全體員工公共遵守的行為準則,在公司形成規范化、標準化、程序化管理的文化氛圍,讓此預案成為真正能有效降低突發環境事件影響的指導文件。
批準簽發(董事長簽名):
發布日期 : 2019年8月16日
目 錄
1總則1
1.1編制目的1
1.2編制依據2
1.3適用范圍4
1.4應急預案體系4
1.5事件應急基本原則4
2富民縣污水處理廠基本情況9
2.1富民污水處理廠概況9
2.2生產工藝基本情況(CASS工藝)10
3環境危險源分析及環境風險評價13
3.1環境風險源識別13
3.2風險源事故環境影響分析14
4組織結構及職責17
4.1應急救援指揮部17
4.2指揮部工作職責17
4.3指揮部人員分工17
4.4各職能組職責:18
4.5應急相關組織部門和公司應急部電話簿19
5預防與預警機制20
5.1預防機制20
5.2預警分級指標21
5.3預警發布22
5.4預警解除22
5.5預警相應措施23
6信息報告與通報23
6.1突發性環境污染事故的內部報告23
6.2突發性環境污染事故的信息通報24
6.3事故報告內容24
6.4突發性環境污染事故的報告流程25
7應急響應與措施26
7.1應急措施( 參照附件2:緊急事件處理流程圖)26
7.2應急終止36
7.3應急終止后的行動37
8后期處置38
9保障措施38
9.1通訊信息保障38
9.2技術保障39
9.3人力資源保障39
9.4經費保障39
10培訓與演練39
10.1培訓39
10.2演練41
10.3記錄與考核41
11獎懲42
11.1獎勵42
11.2責任追究42
12應急預案的評審、備案、發布和更新44
13預案的實施和生效時間45
14術語和定義46
15附件與附表
附件1:重要組織部門聯系電話
附件2:相關組織部門聯系人
附件3:機關單位組織部門聯系電話
附件4:應急救援物資儲存表
附件5:突發事件信息接受表
附件6:應急預案啟動令
附件7:應急預案終止令
附件8:突發環境事件應急預案演練記錄表
附件9:應急預案變更記錄表
附件10:突發環境污染事故的報告流程
附件11:應急措施(緊急事件報告流程)
附件12:污泥處置協議
附件13:危險廢物委托處置協議書
附件14:近年來應急演練照片
總則
為健全富民深隆污水處理有限公司對富民縣污水處理廠可能發生的異常情況,積極防范;在突發性污染事件發生后,迅速、高效、有序地開展污染事件的應急處理工作,最大限度的避免和控制污染的擴大;確定潛在的事件、事件或緊急情況,確保經過處理的污水中的污染物濃度符合國家污水綜合排放標準的有關規定,并能在事件發生后迅速有效控制處理。根據《中華人民共和國環境保護法》、《云南省環境保護條例》等法律法規精神及富民縣污水處理廠工藝特點,本著”預防第一,自救為主,統一指揮,分工負責”的原則,為全面提高各單位應對各類環境污染突發事件的能力,有效預防、及時控制和消除突發環境事件的危害,保障公眾健康和環境安全,制定《富民縣污水處理廠突發環境事件應急預案》。
編制目的
《富民縣污水處理廠突發環境事件應急預案》編制主要目的如下:
(1)、全面調查了解污水處理系統突發環境污染事件類型、風險源以及所造成的環境危害,評估確定該部門的突發環境污染事件應急能力。
(2)、加強本公司對突發環境污染事件的管理能力,全面預防突發環境污染事件。
(3)、提高本公司對突發環境污染事件的應急能力,確保事件發生時能夠及時、有效處理事件源,控制事件擴大,減少事件損失。
(4)、降低突發環境污染事件所造成的環境危害,通過突發環境污染事件的應急處理、環境應急監測、事件信息的及時發布、受影響人員迅速轉移等措施,將事件所造成的危害降至最低。
編制依據
1.2.1法律、法規、規定依據
(1)《中華人民共和國環境保護法》,1989年12月26日;
(2)《中華人民共和國安全生產法》,2002年11月1日起施行;
(3)《中華人民共和國水污染防治法》,2008年6月1日施行;
(4)《中華人民共和國突發事件應對法》2007年11月;
(5)《國家突發公共事件總體應急預案》2011年1月:
(6)《國家突發環境事件應急預案》2010年10月;
(7)《危險化學品安全管理條例》,2011年2月16日修訂;
(8)《國家安全監管總局辦公廳關于印發首批重點監管的危險化學品安全措施和應急處置原則的通知》,安監總廳管三[2011]142號,2011年7月;
(9)《中華人民共和國固體廢物污染環境防治法》
(10)《中華人民共和國刑法》
1.2.2技術標準、規范及相關規定
(1)《地表水環境質量標準》(GB3838-2002)
(2)《環境空氣質量標準》(GB3095-1996)
(3)《大氣污染物綜合排放標準》(GB16297-1996)
(4)《污水綜合排放標準》GB8979-1996
(5)《工作場所有害因素職業接觸限值》(GBZ2.1-2007)
(6)《聲環境質量標準》(GB3096-2008)
(7)《工業企業廠界環境噪聲排放標準》(GB12348-2008)
(8)《危險化學品事件應急救援預案編制導則》,國家安全生產監督管理局,安監管危化字[2004]43號
(9)《建設項目環境風險評價導則》(HJ/T169-2004)
(10)《危險化學品重大危險源辨識》(GB18218-2009)
(11)《常用化學危險品貯存通則》(GB15603-1995)
(12)《化學品分類和危險性公示-通則》(GB13690-2009)
(13)《建筑設計防火規范》(GB50016-2006)
(14)《突發性污染事件中危險品檔案庫》
(15)《突發環境事件應急監測技術規范》(HJ589-2010)
適用范圍
本預案適用于武定縣污水處理廠各類突發環境事件的應急救援及處理。
應急預案體系
本預案應急體系由突發環境事件應急組織機構及職責、事件的預防和預警、突發環境事件應急響應與措施、事件應急的信息報告與通報、事件應急的后期處置、事件的后期處置、事件的保障措施與培訓演練以及預案的實施和生效時間等組成。
事件應急基本原則
1.5.1救援基本要求原則
事件應急救援的目標是通過有效的應急救援行動,最大程度地降低事件損失,基本任務有以下幾個方面:
(1)、立即組織營救受害人員,組織撤離或者采取其他措施保護危害區域內的其它人員。在應急救援行動中,快速、有序、有效地實施現場急救與安全轉送傷員是降低傷亡率、減少事件損失的關鍵。由于重大事件發生突然、擴散迅速、涉及范圍廣、危害大,應在日常生產管理中,教育職工學會采取各項措施,進行自身防護和自救,必要時要迅速撤離危險區或可能受到危害的區域。在撤離過程中,應積極組織職工開展必要的自救和互救工作。
(2)、迅速控制事態,對發生事件造成的危害進行檢測、監測,測定事件的危害區域,危害性質及危害程度。及時控制住造成事件的危害源是應急救援工作的重要任務。只有及時地控制住危險源、防止事件的繼續擴展,才能有效進行救援。發生事件時,應迅速組織義務消防隊,設備搶險隊,與救援人員一起迅速控制事件繼續擴展。
(3)、消除危害后果,做好現場恢復。針對不同的事件發生,以及對人體、土壤、空氣等造成的現實危害和可能造成的危害,及時采取封閉、隔離、洗消、檢測等措施,防止對人體的繼續危害和環境的污染,及時清理廢墟和恢復基本設施,將事件現場恢復至相對穩定的基本狀態。
(4)、查清事件原因,評估危害程度。事件發生后應及時調查事件發生的原因和事件性質,評估事件的危害范圍和危害程度,查明人員傷亡和公私財物損失情況,做好事件調查。
1.5.2突發環境事件分級原則
針對事件危害程度、影響范圍和污水處理廠控制事態的能力,本污水處理廠將突發環境事件分為三級:
1、崗位級:(III級事件)
不影響污水處理的事件,依靠班組技術力量,符合相關操作規程能夠處理的故障,涉及的相關事宜按安全生產管理辦法處理。如設備故障等事件,可通過檢修設備、更換管道等來處理。
2、車間級:(II級事件)
對生產影響較小,依靠車間技術能夠處理。如管道泄漏、廠內閥門故障、人員輕微受傷等一般事件,但在處理過程中必須遵循匯報原則。
3、廠級:(I級)
影響生產較大的生產事件,如廠內污水溢流事件,大型的自然災害或污染事件為廠級事件。
事件嚴重危害或威脅著污水處理廠及周圍人員安全,已經或可能造成重大人員傷亡、重大財產損失或超標廢水大量進入污水處理廠外圍環境等,需要縣政府統一協調,調度各方面資源和力量進行應急處置的緊急事件,參照國家的突發環境事件分級標準。
特別重大(I級)突發環境事件。
凡符合下列情形之一的,為特別重大突發環境事件:
(1)因環境污染直接導致10人以上死亡或100人以上中毒的;
(2)因環境污染需疏散、轉移5萬人以上的;
(3)因環境污染造成直接經濟損失1億元以上的;
(4)因環境污染造成區域生態功能喪失或國家重點保護保護物種滅絕的;
(5)因環境污染造成地市級以上城市集中式飲用水水源地取水中斷的;
(6)2類放射失控造成大范圍嚴重輻射污染后果的;核設施發生需要進入場外應急的嚴重核事故,或事故輻射后果可能影響鄰省和境外的,或按照“國際核事件分級(INES)標準”屬于3級以上的核事件;臺灣核設施中發生的按照“國際核事件分級(INES)標準”屬于4級以上的核事故;周邊國家核設施中發生的按照“國際核事件分級(INES)標準”屬于4級以上的事故;
(7)跨國界突發環境事件
重大(II級)突發環境事件。
凡符合下列情形之一的,為重大突發環境事件:
(1)因環境污染直接導致3人以上10人以下死亡或50人以上100人以下中毒的;
(2)因環境污染需疏散、轉移群眾1萬人以上5萬人以下的;
(3)因環境污染造成直接經濟損失2000萬元以上1億元以下的;
(4)因環境污染造成區域生態功能部分喪失或國家重點保護野生動植物種群大批死亡的;
(5)因環境污染造成縣級城市集中式飲用水水源地取水中斷的;
(6)重金屬污染或危險化學品生產、貯運、使用過程中發生爆炸、泄漏等事件,或因傾倒、堆放、丟棄、遺撤危險廢物等造成的突發環境事件發生在國家重點流域、國家級自然保護區、風景名勝區或居民聚集區、醫院、學校等敏感區域的;
(7)1、2類放射源丟失、被盜、失控造成環境影響,或核設施和鈾礦冶煉設施發生的達到進入廠區應急狀態標準的,或進口貨物嚴重輻射超標的事件;
(8)跨省(區、市)界突發環境事件。
較大(III級)突發環境事件。
凡符合下列情形之一的,為較大突發環境事件:
(1)因環境污染直接導致3人以下死亡或10人以上50人以下中毒的;
(2)因環境污染需疏散、轉移群眾5000人以上1萬人以下的;
(3)因環境污染造成直接經濟損失500萬元以上2000萬元以下的;
(4)因環境污染造成國家重點保護的動植物物種收到破壞的;
(5)因環境污染造成鄉鎮集中式飲用水水源地取水中斷的;
(6)3類放射源丟失、被盜或失控,造成環境影響的;
(7)跨地市界突發環境事件。
一般(IV級)突發環境事件。
除特別重大突發環境事件、重大突發環境事件、較大突發環境事件以外的突發環境事件。
2 富民縣污水處理廠基本情況
2.1富民污水處理廠概況
建設單位:富民縣住房和城鄉建設局
環評批復時間:2008年11月7日
竣工環境保護驗收時間:2012年4月20日
建設地點:富民縣城東南面螳螂川河下游
(東經102°30′16″,北緯25°14′14″)
建設規模:污水處理工程近期2010年處理規模為0.8萬m3/d,遠期2020年總規模為2萬m3/d。污水處理廠采用CASS工藝。
占地面積:廠區占地面積為19333.8m2,富民縣城配套管網總長37.036km。其中雨污分流污水管46559m,截污管道長4469m,綠化用地率為30.7%,綠化面積為3333.3m2。
項目投資:項目總投資為7813.86萬元,其中污水處理廠投資2274.28萬元,配套官網投資5539.58萬元。
運營單位:富民深隆污水處理有限公司
企業法人: 沈仕麗 聯系電話:0871-68810720
企業負責人:孫秀武 聯系電話:13987623565
2.2生產工藝基本情況(CASS工藝)
CASS(Cyclic? Activated? Sludge? System)工藝是間歇式活性污泥法的一種變革,是由SBR(序批式活性污泥法)工藝發展而來,集合了ICEAS和CAST工藝的優點。CASS工藝的核心是CASS池,在SBR的基礎上,反應池沿長方向設計為兩部分。前部為生物選擇區也稱預反應區,后部為主反應區。主反應區后部安裝有升降自動潷水裝置。整個工藝的曝氣、沉淀、排水等過程都在同一池子周期循環進行。省去了常規活性污泥二沉池和污泥回流系統,同時可連續進水,間斷排水(工藝流程圖如下)。

2.2.2運行現狀
我公司于2010年8月以BOT模式運行該廠以來,實行24小時三班倒運轉,自投入運行以來,嚴格按照國家標準進行規范化管理。制定了生產、安全等管理制度。設置專用檔案室,各種基礎數據、資料、臺賬齊全。配備水質化驗室,每天取樣化驗一次,確保污水處理穩定達標排放。還配備了污水處理中控系統,隨時掌握生產運行情況。安裝進、出水在線檢測設備,并與省環保廳聯網,進、出水的COD、氨氮、流量等監測數據24小時由環保部門監督。每季度由楚雄州環境監測站取樣監測,并定期對在線儀器進行比對。出水水質均達到優于《城鎮污水處理廠污染物排放標準》GB18918-2002中一級A標準。出水合格率100%。
2.2.3富民污水廠水質標準

2.2.4廠區主要污染源及處置情況如下
營運期廠區生活污水、濾液等經廠內污水管道排入廠區污水泵房,經提升泵后與進廠污水一并處理。還有,污水廠停電、大修時,通過溢流管外排的流量、外圍管線破損、暴雨或水庫泄洪,造成大量洪水進入各截污口等原因而導致的污水外漏。
(1)大氣污染源
在污水處理廠運行過程中,由于微生物、原生動物、菌膠團等的新陳代謝作用,將產生H2S、NH3等惡臭污染物,可能給周圍大氣環境帶來惡臭影響,惡臭的產生地為污泥脫水機房、儲泥池、CASS池、沉砂池、機械格柵渠、污泥堆放場地等。
(2)固體廢物
污水處理工藝運轉過程產生的固廢主要是:機械格柵渠、沉砂池產生的沉砂、污泥脫水機房產生的脫水污泥、員工生活垃圾,詳見下表:

富民縣污水處理廠產生的柵渣、沉渣及污泥等固體廢物,外運至武定垃圾處理場進行無害化處理衛生填埋。
3環境風險源分析及環境風險評價
3.1環境風險源識別
依據《重大危險源辯識》(GB18218-2009)分析,本廠不存在重大危險源;通過危險度評價取值表評價,本廠生產單元屬低度危險;經分析,本廠存在的主要環境風險事件可能有:原輔材料產品的儲存、使用及運輸環節產生的環境風險;由于長時間停水、停電、設備故障等突發事件導致污水超標排放的環境風險;暴雨、洪水、泥石流、地震、雷擊等自然災害發生突發環境事件。
3.2風險源事故環境影響分析
3.2.1原輔材料產品的儲存、使用及運輸環節產生的環境風險性分析
我廠生產過程中所用的化學藥劑為所有的水質化驗藥品及剩余污泥處理所用的聚丙烯酰胺。
(1)水質化驗藥品儲存中的環境風險分析
我廠的水質化驗藥品中有多項為劇毒、易制毒和高危化學品,存在著腐蝕、中毒、火災、爆炸等風險,在儲存、使用及運輸過程中,一旦環境條件發生變化或操作不當,都會給人或物造成不程度的危害。因此我廠儲存水質化驗藥品于保險柜中,保險柜鑰匙分別由兩人保存,保險柜在兩把鑰匙共同出現的情況下才能打開,且有24小時視頻監控。
(2)剩余污泥處理所用的聚丙烯酰胺儲存中的環境風險分析
聚丙烯酰胺無毒性,易燃,但燃燒后不產生任何有害燃燒物質。我廠所用的聚丙烯酰胺儲存在污泥脫水間一頭的倉庫內,即使發生火災也不會引發整個廠區著火。
3.2.2由于長時間停水、停電、設備故障等突發事件導致污水超標排放環境風險性分析
污水處理廠運行過程中突發事故會導致處理效率下降或污水處理廠無法正常工作,使大量污水下泄,對地表水環境造成影響。根據我廠生產工藝分析,污水處理過程中存在的環境風險和危害主要有以下幾種:
(1)長時間停水造成的環境風險性分析
城市污水排水干網破裂,導致污水處理廠廢水進水量大幅減少,引起微生物死亡,在通水恢復運行后,微生物無法及時恢復活性,導致污水處理廠在一定時間內無法達到設計處理效率,從而造成污水超標排放。
(2)計劃停電及臨時停電造成的環境風險性分析
區域計劃停電或臨時停電會導致污水處理廠設備停止運行,尤其是長時間停電事故,致使泵機無法運行,污水從超越管道直接流出,易導致廢水污染事故。
(3)污水處理廠發生設備故障造成的環境污染風險性分析
污水處理廠主要水處理設備發生重大的故障無法及時維修而且無備用設備,將導致污水得不到處理,從而引起超標排放,處理構筑物、管道滲漏、堵塞也會引起污水超標排放的環境風險。
3.2.3暴雨、洪水、泥石流、雷擊等自然災害發生突發環境事件風險性分析
(1)由武定氣象資料可知,污水廠所處區域年平均降雨量1000毫米左右,但夏季經常有暴雨出現,暴雨對污水處理的影響:一方面處理水量增加,特別武定縣污水管網是合流管網,造成水處理構筑物生物負荷增大,影響處理工藝,另一方面是雨量的增加,可能淹沒配電房等,導致整個操作系統崩潰,污水處理廠停止運行;且武定地處山區,暴雨易引起洪水、泥石流等自然災害,嚴重者會沖毀水處理構筑物、綜合樓等。
(2)雷擊易造成廠區臨時停電事故,一般雷擊伴有暴雨發生時,雷擊造成的停電事故不能及時恢復供電,污水易通過超越管道直接外排;嚴重者雷擊還會造成高、低壓配電房起火、變壓器燒壞等,造成污水處理廠長時間停運等事故。
3.2.4出水水質超標引起的環境風險性分析
出水水質是驗證污水處理廠是否運行正常的重要指標。武定縣污水處理廠出水水質超標易對其尾水排入的武定菜園河造成嚴重的危害,如果影響是短時間表的,能過水體的稀釋和自然凈化后,危害會逐步減小,直到消失,如果污水處理廠長時間超標排放,將嚴重污染相鄰水體,造成重大的的經濟和環境損失。
4組織結構及職責
4.1應急救援指揮部
總指揮:富民深隆污水處理有限公司董事長
副指揮:富民縣污水處理廠廠長
成 員:富民污水廠各部門主管
4.2 指揮部工作職責
負責制(修)定《污水處理廠突發環境事件應急預案》;組建應急救援專業隊伍,并組織訓練和演練;檢查、督促做好污水廠事件的預防措施和應急救援的各項準備工作;發布和解除應急救援指令;組織、指揮救援隊伍,實施救援行動;向主管行政部門和事件現場周邊單位通報事件情況,必要時向有關單位發出救援指令;組織事件調查,對應急救援工作進行總結。
4.3指揮部人員分工
4.3.1總指揮:組織指揮突發事件的應急救援工作;及時向武定縣有關部門和省環保局報告污染事件的發生、危害與處理情況;負責對污水廠環境污染事件預防工作進行指導和檢查。
4.3.2副指揮:按照分工協助組長責應急救援的具體工作;
4.3.3成 員:協助總指揮負責事件救援過程中的總協調工作;按污水廠內部預案規定負責突發事件的一般處置和應急救援有關工作。并且在成立事件應急指揮部的基礎上,成立應急救援職能分組:聯絡組、搶險組、疏散組、保衛組、調查組、應急搶險組。
4.3.4各職能組職責:
(1)、聯絡組:及時了解掌握事件情況,負責事件發生后第一時間通知污水廠主要領導,根據情況酌情及時通知行政主管部門:縣環保局、電業部門、安全監管部門、勞動部門、當事人的家屬等。
(2)、搶險組:其任務是根據領導小組指令,及時負責撲救、搶險,并布置現場人員到醫院陪護,當事態無法控制時,立即通知聯絡組撥打主管部門電話求援。
(3)、疏散、保衛組:其任務為在發生事件時,負責人員的疏散、逃生。
負責損失控制、物資搶救,對事件現場劃定警戒區,阻止與搶救、搶險無關人員進入現場,保護現場不遭破壞。
(4)、調查組:分析事件發生的原因、經過、結果及經濟損失等,調查情況及時上報縣環保局等有關政府部門,如上級、政府部門介入時,調查組配合有關部門調查。
(5)、應急搶險組:發生火災時,應按預案演練方法,積極參加撲救工作,若消防部門進入現場,積極配合武警消防隊進行撲救。
滅火器材配置和急救器具準備:
防火救護物資數量:救護物資有水泥、黃沙、石灰、麻袋、鐵絲等,數量充足。
救災裝備器材的種類:倉庫內備有安全帽、安全帶、切割機、氣焊設備、小型電動工具、一般五金工具、雨衣、雨鞋、手電筒等。統一存放在倉庫,倉庫保管員24小時值班。
消防器材:干粉滅火器,消防栓,消防水管,分布各樓層。設置現場疏散指示標志,應急照明燈,設置黃沙箱。周圍消防栓應標明地點。
急救物品:配備急救藥箱,口罩、擔架及各種外傷救護用品。
其他必備的物資供應渠道:保持社會上物資供應渠道(電話聯系),隨時確保供應。
急救車輛:廠區每天值班小車,或報120急救車救助。
4.4 應急相關組織部門和公司應急部電話簿
污水廠建立應急相關組織部門和公司應急電話簿,當突發環境事件時,以便聯系。(參照附表1、2)
5 預防與預警機制
5.1預防機制
5.1.1進水水質超標預防
對進水進行觀察,并每天定時對進水水質取樣化驗,做好進水水質分析及記錄。
5.1.2出水水質超標預防
對所投入生產的生產線上的生化池和二沉池的水樣進行觀查,并取樣化驗,做好每個時間段的水質分析,操作人員應嚴格按照操作規程進行操作,防止因檢查不周或失誤造成事件;根據化驗或在線監測數據,及時合理的調節運行工況,嚴禁超負荷運行;保證出水達標排放。
5.1.3化驗室化學品泄漏事件預防
加強對化驗室化學品的管理工作,在存儲化學品的化學品庫設置相應的監測、監控、通風、防曬、防火滅火、防護圍堤等安全設施、設備,并定期進行檢查。
5.1.4停電現場可能產生的事件預防
認真巡查配電房運行情況,對供電公司發出的停電通知進行記錄并及時匯報到環保局、水務局等相關部門;并在停電之前將廠內運行著的設備、儀表等提前關閉。
5.1.5暴雨、洪水的故預防
認真注意天氣變化及關注天氣預報,在暴雨天氣前對現場的物品進行收拾或加固,對外露的電氣設備進行保護,對可能積水的部位進行檢查。
5.1.6硫化氫濃度超標導致人員中毒事件預防
遵守安生生產守則,對井下工作及除臭設施檢修時需做好通風工作,至少通風30分鐘,操作人員方可下井,且每人下井連續工作的時間不得超過30分鐘,并做好安全防護工作。
5.1.7火災預防
遵守安全生產守則,對易燃易爆用品進行專人保護,對供電線路進行巡查,對消防設施進行定期檢查。
5.2 預警分級指標
根據突發公共事件嚴重性和緊急程序,設立三個預警等級:由低到高劃分為較重(Ⅲ級)、嚴重(II級)、特別嚴重(Ⅰ級)三個預警級別。
Ⅲ級預警指較嚴重突發事件,事態較為復雜,并有擴大的趨勢,已經形成了經濟損失或有輕微人員傷害。
II級預警指嚴重突發事件,事態復雜,并在逐歩擴大,并且影響到50%的進水量,造成一定的經濟損失或有人員傷害發生。
Ⅰ級預警指特別重大突發事件,事態非常復雜,已經造成了污水處理廠全面停產,有較大的經濟損失和出現人員傷亡現象,并且事態正在不斷蔓延。
公司應急領導小組組長在接到事件報告后,迅速做出判斷,確定警報和相應級別。如果事件較小,不足以啟動應急預案,則發出三級警報,密切關注事態的發展變化;如果事件較大,預計事件單位難以控制,則立即發出二級或一級警報,決定成立公司應急救援現場總指揮部,下達啟動公司應急救援預案的命令。
5.3 預警發布
當可能發生或引發突發應急環境事件時,經應急組織體系核準后,向富民縣環保局、富民縣水務局,同時應急領導小組組長命令各應急職能組做好應急處置準備。
應急領導小組組長出指令,相關人員進入待命狀態,同時動員后備人員做好應急響應工作的準備。
隨時掌握事態進展情況
配合外界應急組開展應急處置準備
協調突發環境應急所需物質和設備的調集工作,做好應急保障
5.4 預警解除
根據事情發展動態和處置情況,由發布預警命令的機構決定并解除預警。
5.5 預警相應措施
堅持做好應對突發環境事件的思想準備,預案準備、機制準備和工作準備,加強培訓演練,做到常備不懈,定期接受應急指揮小組負責人的監督和檢查,并將信息充分的交流與溝通。
應急處理小組應強化安全管理,定期進行安全檢查,從而及早發現并消除安全隱患,預防重大事件發生。建立暢通的信息流通渠道,及時收集導致生產系統重大事件發生的因素,及時通報,并督促立即整改到位。
堅持“誰主管,誰負責”的原則,督促落實各班組安全防范責任制。
6 信息報告與通報
6.1 突發性環境污染事故的內部報告
工藝技術人員每天定時對化驗、工藝等各環節進行監督、檢查,發現異常及時向生產技術部匯報處理,嚴重異常情況,生產技術部需向廠長及云南公司匯報,由云南公司及廠長根據事態情形研判是否啟動應急預案以及啟動應急預案的級別。
6.2 突發性環境污染事故的信息通報
6.2.1當事態嚴重,可能發生對環境造成嚴重影響的突發性環境事件,需啟動應急預案時,應采用電話方式迅速向監管部門(環保局)和主管部門報告情況,并填報《突發事件信息接收報表?》(附表3:突發事件信息接收報表?)。
6.2.2應急響應過程中,各種信息統一由應急指揮小組發布。各應急組定期將本小組的情況反饋給應急指揮小組,應急指揮小組分析各應急小組提供的信息,及時將事件發展情況向外公告,以電話、廠門口貼公告、廣播、電視、新聞媒體等多種形式發布信息。
6.3 事故報告內容
具體應報告的內容為:
(1)、事件發生的單位、準確地點、污染物名稱、物化性質、嚴重程度等,事故已經造成的傷害現狀。?
(2)、事故發生地附近的人員人數、距事故發生地距離。?
(3)、是否啟動了應急預案以及應急預案的級別。
(4)、事件的是否得到了有效控制,是否請求支援等。
(5)、應急終止后應以書面形式匯報本次突發性環境污染事故的級別、件的措施、過程和結果,事件潛在或間接的危害、社會影響、處理后的遺留問題,參加處理工作的有關部門和工作內容 。
6.4 突發性環境污染事故的報告流程
突發性環境污染事故的報告流程如下:

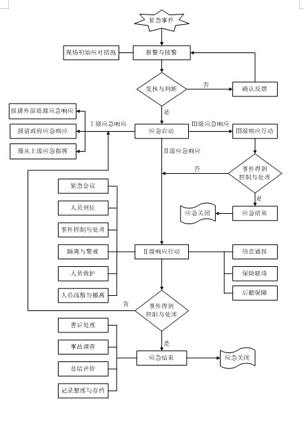
7 應急響應與措
7.1應急響應
根據突發環境事件的分級啟動相應的措施。
應急措施(緊急事件處理流程圖)
急響應能力的適應性和應急人員的協同性而進行的一種模擬應急響應的實踐活動,根據所涉及7.2.1水質事件(進出水異常)
(1)、發現進水水質超出進水設計標準:CODcr≥220mg/L或SS≥200mg/L或PH≥9.0或PH<6.0時,立即向縣水務局和縣環保局報告;并立即對進水水質數據進行分析,根據化驗數據對相關工藝進行及時調整,最大限度的使出水水質達標。
(2)、發現進水水質特別嚴重超標:CODcr>500mg/L或SS>500mg/L或PH>10或PH<4.0或其他嚴重惡化水質時,立即向縣水務局和縣環保局報告,并減少進水量,一小時后若水質仍無好轉,停止進水,避免生化負荷過大和進水酸堿性過而造成我廠生化處理系統崩潰。
(3)、發現出水水質異常時,及時控制進入污水處理廠的污染物總量,加強運行控制,保證運行正常,加強設備運行維護并向市政主管部門報告。
7.2.2突發暴雨
(1)、根據天氣預報預先對閘門等設備進檢查,確保完好。
(2)、隨時觀察提升泵房水位并向領導匯報。
(3)、外出巡視,必須注意個人安全,注意防滑,需要有人配合時兩人或三人一起協作操作。
(4)、水量嚴重超過污水處理系統設計處理能力、提升泵房超高水位:即時與領導聯系,并取水樣化驗。馬上向公司請示同時向環保部門反應情況,根據具體情況進行工藝調整;發現提升泵房集水池超過極限水位8.5米時,馬上通知市政主管部門,請求使污水能過溢流管外排。
7.2.3突然停電
(1)、立即向公司和環保局、水務局等相關部門匯報。
(2)、來電后,按操作規程即刻開啟設備,并加強對出水水質的化驗。
(3)、來電后,以書面報告的形式,將停電情況上報給環保局和水務局,并進行文件簽收。
7.2.4設備運行事件
(1)、立即通知事件應急小組,事件應急小組接到匯報后,立馬核實情況,并宣布預案啟動。
(2)、預案啟動后,分管領導立即組織人員搶修,廠內無法以維修的,立即發外維修,并通知各部門人員。
(3)、應急預案的結束 設備維修完畢并安裝,能夠正常運行,由事件應急小組組長宣布應急結束。
(4)、應急狀態終止后,根據有關指示和實際情況,繼續進行監測和評價工作。
7.2.5火災、配電元器件起火應急響應步驟
(1)、立即報警。當接到發生火災信息時,應確定火災的類型和大小,并立即報告防火指揮系統。防火指揮系統啟動緊急預案,指揮小組要迅速報打“119”火警電話,并及時報告上級領導,便于及時撲救處置火災事件。
(2)、組織撲救火災。當廠區內發生火災時,應急準備與響應指揮部除及時報警,并要立即組織現場義務消防隊員和職工進行撲救火災,義務消防隊員選擇相應器材進行撲救,撲救時要按照“先控制、后滅火;救人重于救火;先重點,后一般”的滅火戰術原則,派人切斷電源,接通消防栓,組織搶救傷亡人員,隔離火災危險源和重點物資及重要設備器具,充分利用廠區現場配備的消防設施器材進行滅火。A、滅火組:在火災初期階段使用滅火器,室外消防栓進行火災撲救。B、疏散組:根據情況確定疏散,逃生通道,指揮撤離,并維持秩序和清點人數。C、保衛組:做好現場保護工作,設立警示牌,防止二次火險。
(3)、人員疏散是減少人員傷亡擴大的關鍵,也是最徹底的應急響應。在現場平面布置圖上繪制疏散通道,一旦發生火災等事件,人員可按圖示疏散撤離到安全地帶。
(4)、協助武警消防隊滅火:聯絡組撥打|“119”“120”求救,并派人到路口接應。當專業消防隊到達火災現場后,火災應急小組成員要簡要向消防隊負責人說明火災情況,并全力協助消防隊員滅火,聽從專業消防隊指揮,齊心協力,共同滅火。
(5)、配電室元器件起火,有操作資格的人員佩戴絕緣手套,首先切斷該控制柜電源,利用干粉滅火氣滅火,生產技術人員迅速到位,評估對生產的影響。檢查失火原因,制定修復方案.排除故障隱患。
(6)、現場保護。當火災發生時和撲滅后,指揮小組要派人保護好現場,維護好現場秩序,等待事件原因和對責任人調查。同時應立即采取善后工作,及時清理,將火災造成的垃圾分類處理以及其它有效措施,使火災事件對環境造成的污染降低到最低限度。
(7)火災事件調查處置。按照縣環保局、縣安全監督管理局對事件調查處理程序規定,火災發生情況要及時按“四不放過”原則進行查處。事件過后分析其原因,編寫調查報告,采取糾正和預防措施,負責對預案進行評價并修改預案。對火災發生情況報告應急應急領導小組要及時上報行政主管部門。
7.2.6觸電(雷擊)、溺水、機械損傷、墜落砸傷等傷亡事件的應急響應步驟
(1)立即報警。當接到發生設備傷亡事件、觸電(雷擊)、溺水、墜落砸傷等傷亡事件時,應立即切斷電源,報應急領導小組,啟動緊急預案,指揮小組應立即打“120”、“110”急救中心電話,并及時報告上級領導。
(2)組織傷亡搶救。在“120”、“110”專業救護人員到來之前,義務救護隊人員要將傷亡人員,應就近移至安全地帶,對于溺水者要進行倒置淋出口中的存水,對觸電者要進行平躺向上,進行人工呼吸等。
(3)對被機械傷害的傷員,應迅速小心的的使傷員脫離源,有必要時,拆卸割開機器,移除受傷的機體。
(4)對發生休克的傷員,應首先進行搶救,遇有呼吸、心臟停止者可采用心臟擠壓法,使其恢復正常。
(5)對骨折的傷員,應利用木板、竹片和繩布等捆綁骨折處的上下關節,固定骨折部位,也可將其上肢固定在身側,下肢與下肢縛在一起。
(6)對傷口出血的傷員,應讓其以頭低腳高的姿勢躺臥,使用消毒紗布或清潔織布覆蓋傷口上,用繃布較緊的包扎,以壓迫止血。
(7)專業救護人員到達現場后,義務救護隊員配合進行搶救轉移至醫院等工作。
7.2.7防泥流、防汛排澇、防震等自然災害的應急響應步驟
(1)汛期排澇應急響應預案同“突發暴雨”。
(2)在全公司開展防震減災、防泥石流知識的宣傳教育,增強職工的防震減災意識,提高全公司職工的防震減災、防泥石流的能力,隨時做好醫療救助的準備,同時做好后勤保障工作。充分利用公告欄、宣傳欄做好防震減災、防泥石流等安全工作的的宣傳工作。按照職責分工,各負其責,密切配合,共同做好本區域的減災工作。
(3)強調各部門團結協作,確保防震減災期間公司平穩運行。每位員工在防震減災、防泥石流的特殊時期,應加強各部門的合作和相互支持,應以大局為重,一切聽從安排,克服一切困難,保證工作的平穩運行,特別是注意安全。牢記“任何單位和個人都有依法參加防震減災、防泥石流活動的義務。”
7.2.8化學品泄漏的應急措施
(1)廠內使用的絮凝劑為固體,如果出現泄露或者拋灑,則應急處置人員應穿好防護服,利用鏟子和編織袋將泄露的絮凝劑進行收集,防止絮凝劑大量進入下水道、排洪溝、污水處理構筑物等限制性空間。
(1)如果是實驗室內化學藥劑泄漏,應急處置措施為:
(2)切斷火源;應急處理人員戴好防護裝備,穿酸堿防護服;防止泄露的化學品進入下水道等限制性空間;根據泄露的化學品的性質,采用實驗室內藥劑進行中和處理或者采用砂土進行吸附,吸附后的沙土全部進行收集后與廠區內其它危險廢物一起送至危險廢物處置單位處置。
7.2.9危險廢物管理丟失、泄漏的應急措施
當發生危險廢物流失、泄漏、擴散等意外事故時,發現者應保護現場,并向應急救援辦公室報警,報警人員應簡要說明事故地點、泄漏介質的性質和程度、有否人員受傷、中毒等情況。應急救援辦公室接到報警后,要正確分析判斷,采取相應的處理方案,控制事故擴大,并根據事故性質通知相關應急救援小組負責人到現場進行救援。事故發生部門應立即調查事故發生原因,應急指揮人員及時組織開展應急處置,立即按崗位操作法、緊急情況處理方法處理,迅速撤離泄漏污染區人員,嚴格限制出入。
按照以下要求及時采取緊急處理措施:
1.確定流失、泄漏、擴散的危險廢物的類別、數量、發生時間,影響范圍及嚴重程度;
2.組織有關人員對發生危險廢物泄漏、擴散的現場處理;
3.處理被危險廢物污染的區域時,應當盡可能減少對工作人員、其它現場人員及環境的影響。
4.采取適當的安全處置措施,對泄漏及受污染的區域、物品進行無害化處理,必要時封鎖污染區域,以防擴大污染。
5.工作人員應當做好衛生安全防護后進行工作。處理工作結束后,應對事件的起因進行調查,并采取有效的防范措施、預防類似事件發生。在泄漏介質可能對社會環境造成影響時,由應急救援辦公室向地方政府通報事故情況,取得支持和配合。
6、事故發生后要注意保護現場,由應急救援辦公室組織有關人員進行事故調查,分析原因,在24小時內填寫“緊急情況處理報告書”,向總指揮報告,必要時向上級有關部門報告。
7.2.10污泥在運輸過程中發生泄漏風險事故的應急處理措施
當發生污泥流失、泄漏、擴散等意外事故時,發現者應保護現場,并向應急救援辦公室報警,報警人員應簡要說明事故地點、泄漏介質的性質和程度、有否人員受傷等情況。應急救援辦公室接到報警后,要正確分析判斷,采取相應的處理方案,控制事故擴大,并根據事故性質通知相關應急救援小組負責人到現場進行救援。事故發生部門應立即調查事故發生原因,應急指揮人員及時組織開展應急處置,立即按崗位操作法、緊急情況處理方法處理,迅速撤離泄漏污染區人員,嚴格限制出入。
按照以下要求及時采取緊急處理措施:
(1)處理被污泥污染的區域時,應當盡可能減少對現場人員及環境的影響。
(2)采取適當的安全處置措施,對泄漏及受污染的區域、物品進行消毒或者其他無害化處理,以防擴大污染。
(3)工作人員應當做好衛生安全防護后進行工作。處理工作結束后,應對事件的起因進行調查,并采取有效的防范措施、預防類似事件發生。
7.2.11截污管網破裂發生污水泄漏風險事故的應急處理措施
由于截污管網由住建局管理維護,所以若發生事故時,配合住建局調整工藝運行程序,加大或停止進出水等措施。
7.2.12突發災害性天氣、地質災害的應急措施
(1)根據天氣預報預先對閘門等設備進行檢查,確保完好。
(2)隨時觀察集水池的水位并向領導匯報。
(3)外出巡視,必須注意個人安全,注意防滑,需要有人配合時兩人或三人一起協作操作。
(4)由于進水管網關系著周邊的防洪和排澇,水位超過預警水位時立即向公司和環保部門匯報,加大進水量,若進水水位仍然上漲,超過極限水位時,需進行相應的工藝調整。
7.3應急終止
7.3.1應急終止的條件
完全符合下列條件,即滿足應急終止條件:
(1)、事件現場得到控制,事件條件已經消除;
(2)、污染源的泄漏或釋放已降至規定限值以內;
(3)、事件所造成的危害已經被徹底消除,無繼發可能;
(4)、事件現場的各種專業應急處置行動已無繼續的必要;
(5)、采取了必要的防護措施以保護公眾免受再次危害,并使事件可能引起的中長期影響趨于合理且盡量低的水平。
7.3.2應急終止的程序
Ⅱ級、Ⅲ級應急響應現場應急指揮小組及相關部門確認終止時機;由現場應急指揮小組辦公室向所屬各專業應急救援隊伍下達應急終止命令;應急狀態終止后,應急指揮小組應根據市政府有關指示和實際情況,繼續進行后期處置工作,直至其他補救措施無需繼續進行為止。
Ⅰ級環境事件應由武定縣政府決定應急是否終止。
7.4應急終止后的行動
7.4.1 調查與評估
(1)突發性環境污染事故應急處理工作結束后,應組織相關部門認真總結、分析、吸取事故教訓,及時進行整改;
(2)組織各專業組對應急計劃和實施程序的有效性、應急裝備的可行性、應急人員的素質和反應速度等作出評價,并提出對應急預案的修改意見。??
(3)參加應急行動的部門負責組織、指導環境應急隊伍維護、保養應急儀器設備,使之始終保持良好的技術狀態。
7.4.2恢復與重建
(1)、事件的影響得到初步控制后,為使生產、工作、生活盡快恢復到正常狀態,廠各級人員應采取必要的措施或行動防止發生次生、衍生事件。
(2)、突發事件應急處置工作結束后,應急指揮機構應當立即組織對突發事件造成的損失進行評估,對受影響的設備設施進行維修或更換,組織受影響部門盡快恢復生產。
(3)、后勤保障組負責對應急過程中消耗、使用的應急物資、器材進行補充,使其重新處于應急備用狀態。
8 后期處置
8.1待應急救援行動之后,由應急指揮小組組織重新進入人員調查損壞區域,開始對事件原因進行調查總結,并評價事件損失,組織力量進行污染的清消、恢復。
8.2清點人數,有無傷亡人員。
8.3統計損失的主要設備、設施、物資以及經濟損失。
8.4清點、回收、統計消防器材的使用數量,安排專人歸位或集中,需維護的報分管領導。
8.5指導有關崗位人員做好記錄(事件時間、參加搶修搶險人員、核對工具器材的數量等),整理后上報主管部門。
8.6通知或聯系有關部門安排人員清理現場、打掃衛生。
9 保障措施
9.1 通訊信息保障
建立和完善環境安全應急指揮系統、環境應急處置系統和環境安全科學預警系統。配備必要的有線、無線通信器材,并24小時保持通訊狀態,確保本預案啟動時各應急部門之間的聯絡暢通。
9.2 技術保障
建立環境安全預警系統,組建應急小組,確保在啟動預警前、事件發生后相關環境專家能迅速到位,為指揮決策提供服務。
9.3 人力資源保障
建立生產事故應急救援隊伍,培訓一支常備不懈,熟悉環境應急知識,充分掌握各類突發性環境污染事故處置措施的預備應急力量;保證在突發事故發生后,能迅速參與并完成搶救、排險、消毒、監測等現場處置工作。
9.4 經費保障?
各部門的救援、搶險經費由公司統一撥付;各部門負責及時將所需費用上報公司計劃財務科,在資金未到位前,各部門有權靈活使用現有資金進行及時處理,但事后應按財務管理制度的相關規定將詳細費用清單上報
10 培訓與演練
10.1 培訓
為確保快速、有序和有效的應急能力,所有污水處理廠應急指揮小組成員和各專業救援隊成員應認真學習本預案內容,明確在救援現場所擔負的責任,對周邊群眾應告知危險物質的危害及避險方法。
10.1.1相關崗位人員培訓
本預案由主管部門領導簽發后生效后,下發到廠內部各崗位人員。由應急辦公室組織各崗位人員對本預案的內容進行學習,通過學習使各崗位人員了解預案的目的和法律依據,以及預案的組織機構和應急反應程序,明確自己在預案中的崗位和相應的職責;能完全明白針對不同事件應采用的不同應急技術及安全防護手段;能熟練掌握應急報警程序;明確各崗位人員之間在本預案中的分工協作關系以及各班組、污水處理廠應急指揮小組、政府相關部門的協作關系。
10.1.2作業人員培訓
目的:使參與污染應急作業的人員了解污染應急的基本知識和設備操作技能。
次數:每年至少舉辦 1 期培訓班。
內容:包括應急設備和器材的性能、使用與維護方法及操作技能等。
10.1.3管理人員培訓
目的:使應急管理人員(包括各級指揮人員和管理人員),具備對污染事件作出正確判斷、決策和指揮能力。
次數:至少每 1~2 年舉辦 1 期培訓班,可以通過參加相關部門的培訓講座來完成。
內容:相關預案的主要內容;污染事件的遏制與清除的一般知識;國內外典型事件案例分析;污染應急對策分析;污染應急信息系統在指揮污染應急行動中的應用。
每次培訓做好相應記錄,培訓記錄表格式。
10.2 演練
本預案每年組織一次突發環境事件的應急演練,應急指揮小組應做好演練方案的策劃、實施,以及演練結束后做好總結。(附表4: 演練與培訓記錄表)
10.3 記錄與考核
10.3.1記錄
演練記錄的主要內容包括:
(1)參加演練的單位、部門、人員和演練的地點;
(2)演練起止時間;
(3)、演練項目和內容;
(4)、演練過程中的環境條件;
(5)、演練動用設備、物資;
(6)、應急設備待用狀況、人員技術狀況;
(7)、演練效果;
(8)、演練的成功經驗與失敗教訓、對應急預案的持續改進的建議;
(9)、演練過程記錄的文字、音像資料。每次演練應做好相應記錄,演習記錄表格式.
10.3.2考核
培訓與演練結束后,對參加演練和培訓的人員過行考核,并將考核成績列入個人工作績效考核。
11 獎懲
11.1 獎勵
在事件應急救援工作中作出顯著成績的單位和個人,由廠依照規章制度給予表彰、獎勵。
11.2 責任追究
在應急救援準備工作中有下列情形之一的,依照人事部門等相關管理制度對有關責任單位和責任人進行處理;對構成犯罪的,移交司法機關,依法追究刑事責任。
11.2.1未按規定要求做好事件應急救援準備工作,經有關部門提出整改措施后,拒不整改的;
11.2.2遲報、謊報、瞞報事件;
11.2.3事件發生時,玩忽職守或臨陣逃脫、擅離職守的;
11.2.4拒不執行事件應急救援指揮小組的通知、指示、命令的;
11.2.5發生事件時,沒有立即組織實施搶救或者采取必要措施,造成事件蔓延、擴大和重大經濟損失的;
11.2.6妨礙應急救援工作的;
11.2.7不配合、協助事件調查的。
12 應急預案的評審、備案、發布和更新
內部評審由污水處理航組織廠內有關部門和人員進行,外部評審是由上級主管部門、環保部門、周邊公眾代表、專家等對預案進行評審,預案經評審完善后,由污水處理廠有關主管領導簽署發布,按規定報有關部門備案。
為保障環境應急系統時鐘處于良好的戰備狀態,并實現持續改進,對各級環境應急機構飛設置情況、制度和工作程序的建立與執行情況、隊伍的建設和人員培訓與考核情況、應急裝備和經費管理與使用情況等,在環境應急能力評價體系中實行自上而下的監督、檢查和考核工作機制。
隨著應急救援法律法規的制定、修改和完善,部門職責或應急資源發生變化,或者應急演練、應急過程中發現存在的問題和出現新的情況,應及時修訂完善預案。
預案每三年至少修訂一次。同時,有下列情況之一的,應及時更新。
(1)風險源發生變化(包括風險源的種類、數量和位置)。
(2)本單位生產工藝和技術發生變化。
(3)相關單位和人員發生變化或者應急組織指揮體系或者職責發生變化。
(4)應急裝備、設備設施發生變化。
(5)周圍環境或者環境敏感點發生變化。
(6)應急演練評價中發生存在不符合項。
(7)環境應急預案依據的法律、法規、規章等發生變化。
(8)環境保護主管部門或者企業認為應當適時修訂的其他情況。
13 預案的實施和生效時間
預案批準發布后,污水處理廠組織實施案中的各項工作,明確各項職責和責任分工,加強應急知識的宣傳、教育和培訓,定期組織應急預案演練,實現應急預案持續改進,本預案自公司董事長簽發發布之日起實施。
14 術語和定義
14.1 環境事故:是指由于違反環境保護法律法規的經濟、社會活動與行為,以及意外因素的影響或不可抗拒的自然災害等原因致使環境受到污染,人體健康受到危害,社會經濟與人民群眾財產受到損失,造成不良社會影響的突發性事件。??突發性環境污染事故:指突然發生,造成或者可能造成重大人員傷亡、重大財產損失和對全國或者某一地區的經濟社會穩定、政治安定構成重大威脅和損害,有重大社會影響的涉及公共安全的環境事故。??
14.1.2 環境應急:針對可能或已發生的突發性環境污染事故需要立即采取某些超出正常工作程序的行動,以避免事件發生或減輕事件后果的狀態,也稱為緊急狀態;同時也泛指立即采取超出正常工作程序的行動。
14.2? 應急預案:是指面對突發事件如自然災害、重特大事故、環境公害及人為破壞的應急管理、指揮、救援計劃等。?
14.3 預警:是指在災害或災難以及其他需要提防的危險發生之前,根據以往的總結的規律或觀測得到的可能性前兆,向相關部門發出緊急信號,報告危險情況,以避免危害在不知情或準備不足的的情況下發生,從而最大程度的減低危害所造成的損失的行為。
14.4 應急響應:事故發生后,有關組織或人員采取的應急行動。
14.4事故的影響得到初步控制后,為使生產、工作、生活、生活和生態環境盡快恢復到正常狀態而采取的措施或行動。
14.5 應急演習:為檢驗應急計劃的有效性、應急準備的完善性、 應的內容和范圍的不同,可分為單項演習(演練)、綜合演習和指揮中心、現場應急組織聯合進行的聯合演習。
15 附件、附表與附圖



















附件14 公司近年來應急演練照片
![]() | ![]() |
![]() | ![]() |
![]() | ![]() |
![]() | ![]() |
![]() | ![]() |